SSC CHSL Exam Download Tier-1 2021 General Intelligence & Reasoning Question Paper PDF with Answers: Staff Selection Commission will conduct Combined Higher Secondary Level (10+2) Examination, 2021 Tier-1 Exam from 26th May to 10th June 2022 in online mode across different Exam Centres in India. So, the time has come for the candidates to start their preparation for the SSC CHSL 2022 Tier -1 Exam. To score high marks, candidates must practice SSC CHSL Previous Year Papers.
| SSC CHSL 2022 Exam Preparatory Study Material |
| Download SSC CHSL Tier-1 Exam GA/GK/Current Affairs Paper 2021 |
So for the ease of the candidates, we have provided the SSC CHSL 12th April 2021 Question Paper for General Intelligence & Reasoning Section that comprises of 25 Questions of 2 marks each. The answers of all the 25 questions are given below in the SSC CHSL 12th April 2021 Question Paper:
Check Govt exam Calendar for May 2022
| SSC CHSL Tier-1 General Intelligence & Reasoning Question Paper with Answer held on 12th April 2021 |
1. Two Difference positions of the same dice are shown. Select the number that will be at the top if 'I' is at the bottom.

(a) 4
(b) 5
(c) 6
(d) 2
Answer: (d)
2. Vineet is the husband of Antima. Dev is the brother of Kusha. Shalini is the mother of Kusha's mother. Dev is the son of Vineet. How is Antima related to Shalini?
(a) Mother
(b) Maternal Aunt
(c) Daughter
(d) Sister
Answer: (c)
3. Select the option in which the number are related in the same way as are the number of the following set.
{8, 17, 15}
(a) {7, 25, 24}
(b) {3, 8, 5}
(c) {6, 10, 9}
(d) {9, 15, 11}
Answer: (a)
4. In a certain code language, SEMANTIC is coded as 14485293. How will PRATICE be coded in that language?
(a) 29137934
(b) 81943145
(c) 79832934
(d) 791232935
Answer: (c)
5. Select the option in which the given figure is embedded (rotation is NOT allowed).

Answer: (c)
6. Four letter-cluster have been given, out of which three are alike in some manner and one is different. Select the letter-cluster that is different.
(a) BASK
(b) SPIT
(c) TRAM
(d) MOVE
Answer: (d)
7. Select the number from among the given options that can replace the question mark (?) in the following series.
10, 13, 19, 31, ?, 103
(a) 55
(b) 61
(c) 73
(d) 49
Answer: (a)
8. Select the option in which the numbers share the same relationship as that share by the given pair of numbers.
6 : 54
(a) 10 : 108
(b) 4 : 16
(c) 2 : 9
(d) 8 : 76
Answer: (b)
9. Four words have been given, out of which three are alike in some manner and one is different. Select the word that is different.
(a) Termination
(b) Conclusion
(c) Progression
(d) Valediction
Answer: (c)
10. How many triangles are there in the following figure?

(a) 30
(b) 24
(c) 20
(d) 28
Answer: (a)
11. Select the option in which the words share the same relationship as that share by the given pair of words.
Trust : Faith
(a) Fair : wholesome
(b) Joy : Success
(c) Disgust : Distaste
(d) Salary : Employment
Answer: (c)
12. Select the correct mirror image of the given figure when the mirror is placed at the right side of the figure.

Answer: (a)
13. Select the letter-cluster that can replace the question mark (?) in the following series.
REST, SEST, SFST, ?, SFTU
(a) SFUT
(b) SFRT
(c) SFTT
(d) SFTT
Answer: (c)
14. Select the correct option that indicates the arrangement of the given words in a logical and meaningful order.
1. Journey
2. Return
3. Destination
4. Reservation
5. Guided Tour
(a) 3, 4, 1, 5, 2
(b) 3, 5, 4, 2, 1
(c) 4, 5, 3, 1, 2
(d) 3, 4, 2, 1, 5
Answer: (a)
15. In a certain code language, INTERACT is written as TNIRETCA. How will SATURDAY be written in that language?
(a) UTASYADR
(b) ASUTDRYA
(c) TASURYDA
(d) TASRUYAD
Answer: (d)
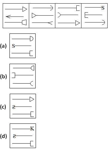
16. Select the figure that will come next in the following series.

Answer: (a)
17. Select the option that is related to the third letter-cluster in the same way as the second letter-cluster is related to the first letter-cluster.
DJHF : JPNL :: KTQN : ?
(a) QWUS
(b) QHKN
(c) PZWS
(d) QZWT
Answer: (d)
18. Which two signs should be interchanged to make the following equation correct?
8 + 12 ÷ 6 × 8 - 9 = 8
(a) ÷ and +
(b) × and ÷
(c) + and ×
(d) × and -
Answer: (b)
19. Four numbers have been given, out of which three are alike in some manner and one is different. Select the number that is different.
(a) 245
(b) 385
(c) 59
(d) 315
Answer: (c)
20. 85 apples are to be distributed in a class consisting of boys and girls. If each boy gets 5 apples, then each girl will get 7 apples, and if each boy get 4 apples, then each girls will get 9 apples. How many students are there in the class?
(a) 15
(b) 14
(c) 19
(d) 17
Answer: (a)
| Also Read: |
| Download PDF for Information shared by SSC on Non-Recommended Willing Candidates |
21. The sequence of folding a piece of paper and the manner in which the folded paper has been cut shown below. How would this paper look when unfolded?

Answer: (a)
22. 'Musician' is related to 'Piano' in the same way as 'Farmer' is related '__________'.
(a) Bullock
(b) Plough
(c) Field
(d) Cultivation
Answer: (b)
23. Select the option in which the number are related in the same way as are the number of the following set.
{14, 44, 8}
(a) {12, 36, 9}
(b) {18, 54, 13}
(c) {5, 32, 11}
(d) {9, 38, 12}
Answer: (c)
24. Read the given statements and conclusion carefully. Assuming that the information given in the statements is true, even if it appears to be at variance with commonly known facts, decide which of the given conclusions logically follow(s) from the statements.
Statements:
Some Vehicles are cars.
All cars are four-wheelers.
Some four-wheelers are trucks.
Conclusions:
I. Some Vehicles are trucks.
II. Some four-wheelers are vehicles.
III. Some trucks are cars.
(a) Only conclusions II and III follow
(b) None of the conclusions follow
(c) only conclusion I follows
(d) Only conclusion II follows
Answer: (d)
25. In the given diagram, the circle stands for 'farmers', the rectangle stands for 'rural', and the triangle stands for 'rich'. The number given in the different segments represents the number of persons of that category.
How many rural people are either farmers or rich but NOT both?

(a) 28
(b) 36
(c) 25
(d) 47
Answer: (b)
Comments
All Comments (0)
Join the conversation